Москва

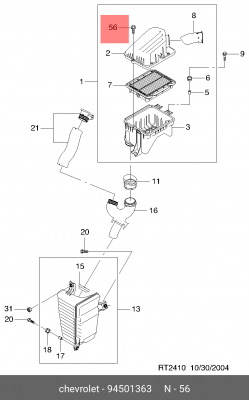
94501363 GENERAL MOTORS БОЛТ GENERAL MOTORS

Артикул 94501363_GM
Производитель GM
Наименование БОЛТ GENERAL MOTORS
Штрих-код 9900007330890
Вес брутто [кг] 0.01
Мы используем cookies, чтобы сайт был лучше.
Внимание!
В браузере выключены cookie. Это может вызывать сбои или некорректную работу сайта. Пожалуйста, разрешите использование файлов cookie для данного сайта (или браузера в целом) согласно документации к браузеру.